


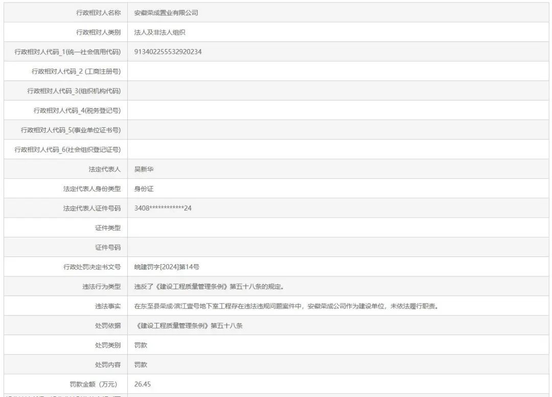
安徽荣成置业有限公司被罚26.45万元
近日,据安徽省住房和城乡建设厅行政处罚信息公示,安徽荣成置业有限公司在东至县荣成·滨江壹号地下室工程存在违法违规问题,安徽荣成公司作为建设单位,未依法履行职责,违反了《建设工程质量管理条例》相关规定,被安徽省住房和城乡建设厅罚款26.45万元。

图源安徽省住房和城乡建设厅
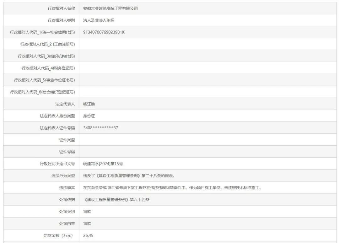
安徽大业建筑安装工程有限公司被罚26.45万元
安徽大业建筑安装工程有限公司在东至县荣成·滨江壹号地下室工程存在违法违规问题,该公司作为项目施工单位,未按照技术标准施工,违反了《建设工程质量管理条例》相关规定,被安徽省住房和城乡建设厅罚款26.45万元。

图源安徽省住房和城乡建设厅
来源 | 安徽省住房和城乡建设厅