


记者从信用中国(安徽合肥)网站了解到,近日,因使用检验不合格特种设备, 合肥市引领物业管理有限公司被长丰县市场监督管理局处以罚款40000元,安徽正天物业服务有限公司被合肥市蜀山区市场监督管理局处以罚款30000元。

合肥市引领物业管理有限公司使用检验不合格特种设备,违反了《中华人民共和国特种设备安全法》第四十条及《特种设备使用单位落实使用安全主体责任监督管理规定》第六十九条的规定,依据《中华人民共和国特种设备安全法》第八十四条及《特种设备使用单位落实使用安全主体责任监督管理规定》第八十四条的规定,长丰县市场监督管理局对合肥市引领物业管理有限公司处以罚款40000元。

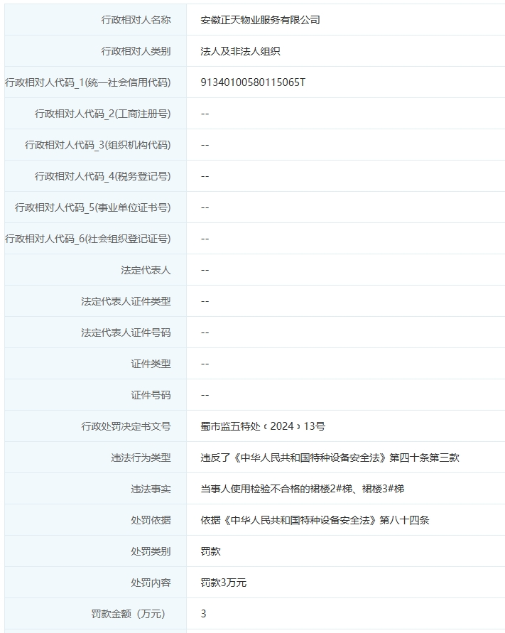
安徽正天物业服务有限公司使用检验不合格的裙楼2#梯、裙楼3#梯,违反了《中华人民共和国特种设备安全法》第四十条第三款,依据《中华人民共和国特种设备安全法》第八十四条,合肥市蜀山区市场监督管理局对安徽正天物业服务有限公司处以罚款30000元。
来源:信用合肥