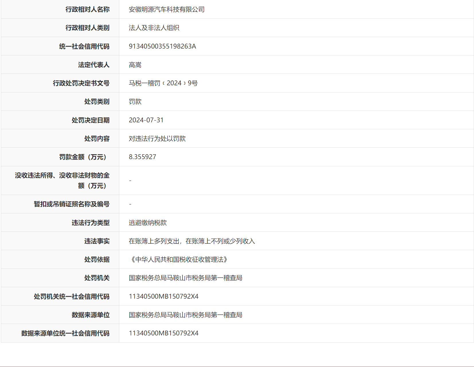
8月1日,信用安徽网站披露行政处罚信息,安徽明源汽车科技有限公司因逃避缴纳税款被罚款8.355927万元,其在账簿上多列支出,在账簿上不列或少列收入。行政处罚决定书文号马税一稽罚﹝2024﹞9号。
来源:信用安徽
凰家体验官探游兰州新区
集采“反内卷” 我们能对药品更放心吗?
不只是“多了两个假” 中国多地推行中小学春秋假
中国多地滑雪场提前“开板” 周边酒店订单走俏
科创合肥:澎湃创新动能
31省份工业盈亏图鉴 谁赚到钱了?
“鸡排哥”全国“巡炸”南昌站 有游客排队三小时
“300元以下难购真羽绒服”?
武汉一高校发起捐赠1000元冠名座椅活动
山东海阳核电3号机组核岛大型模块吊装完成
中国车企扎堆海外建厂
居延遗址新发现青铜时代遗存
河南开封:大宋“百戏”引游人