


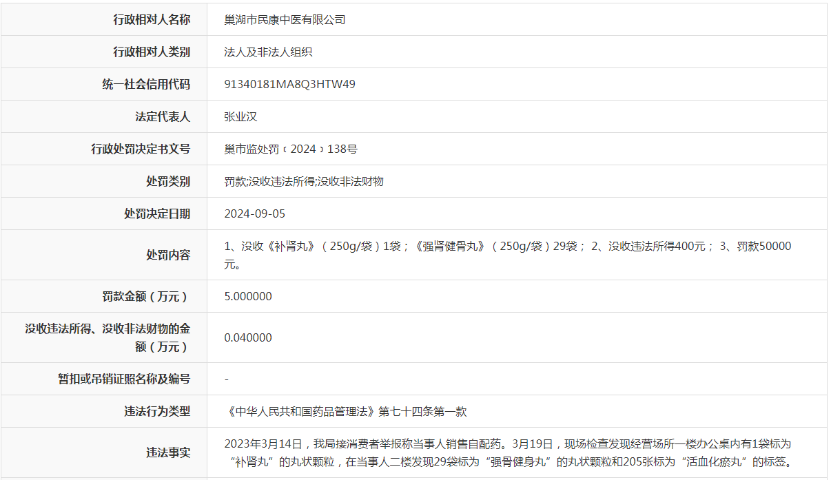
9月5日,信用中国(安徽)披露行政处罚信息,安徽巢湖市民康中医有限公司因非法销售自配药被罚。行政处罚决定书文号巢市监处罚﹝2024﹞138号。

公开处罚信息显示,2023年3月14日,巢湖市市场监督管理局接消费者举报称当事人销售自配药。3月19日,现场检查发现经营场所一楼办公桌内有1袋标为“补肾丸”的丸状颗粒,在当事人二楼发现29袋标为“强骨健身丸”的丸状颗粒和205张标为“活血化瘀丸”的标签。
该公司上述行为违反了《中华人民共和国药品管理法》第七十四条第一款的规定,依据《中华人民共和国药品管理法》第一百一十五条:“未取得药品生产许可证、药品经营许可证或者医疗机构制剂许可证生产、销售药品的,责令关闭,没收违法生产、销售的药品和违法所得,并处违法生产、销售的药品(包括已售出和未售出的药品)货值金额十五倍以上三十倍以下的罚款;货值金额不足十万元的,按十万元计算。”巢湖市市场监督管理局决定对该单位罚款5万元,并没收违法所得0.04万元。(文/实习生 蒋欣益)
来源:信用中国(安徽)