


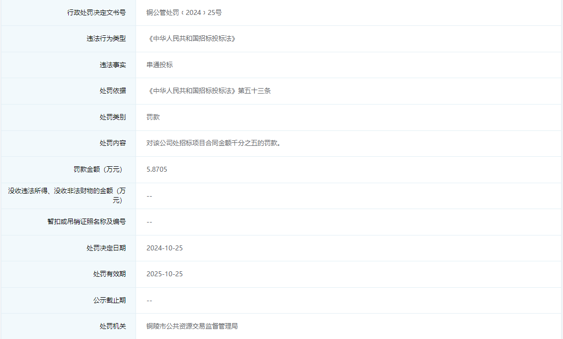
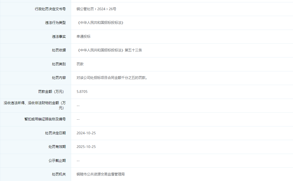
10月25日,信用铜陵披露行政处罚信息,因串通投标,青阳县国兴建筑工程有限公司、安徽鹏宸建筑工程有限公司分别被罚款5.8705万元,行政处罚决定书文号为铜公管处罚﹝2024﹞25号、铜公管处罚﹝2024﹞26号。



天眼查信息显示,青阳县国兴建筑工程有限公司 (曾用名:青阳县国兴交通设施制造有限公司) ,成立于2013年,位于安徽省池州市,是一家以从事金属制品业为主的企业。法定代表人为王国富。
安徽鹏宸建筑工程有限公司 (曾用名:安徽康斯创力建筑工程有限公司) ,成立于2018年,位于安徽省池州市,是一家以从事房屋建筑业为主的企业。法定代表人为高峰。
来源:凤凰网安徽综合