


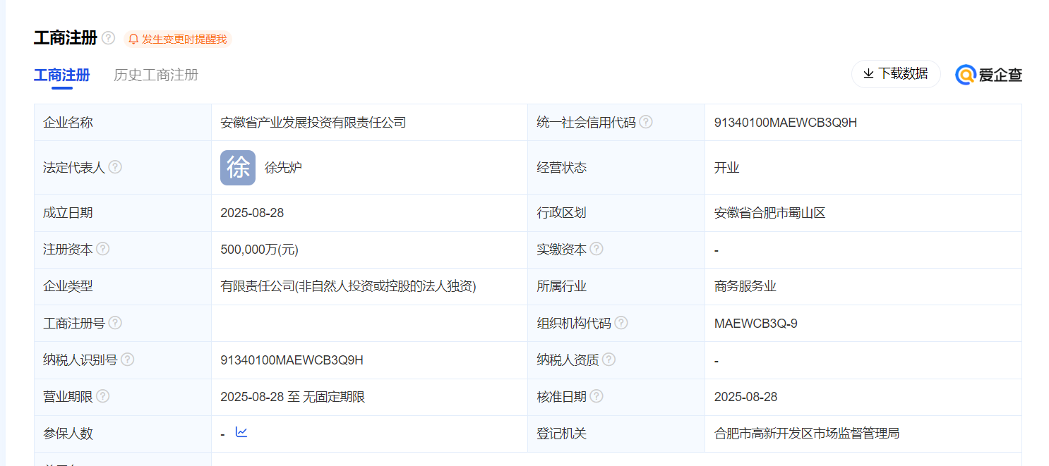
爱企查信息显示,8月28日,安徽省产业发展投资有限责任公司(简称“省产投公司”)注册成立,注册资本为500,000万元,注册地位于中国(安徽)自由贸易试验区合肥片区高新区块城西桥社区服务中心。
公司法定代表人为徐先炉,经营范围包括一般项目:以自有资金从事投资活动;自有资金投资的资产管理服务;创业投资(限投资未上市企业);咨询策划服务;财务咨询;信息咨询服务(不含许可类信息咨询服务)(除许可业务外,可自主依法经营法律法规非禁止或限制的项目)。


据“安徽省高新投”微信公众号消息,此次新成立的省产投公司是省投资集团旗下的全资子公司,公司组建方案经省政府同意,省发改委、省财政厅、省国资委联合印发,是省投资集团贯彻落实省委、省政府推动新兴产业“双招双引”和产业培育提质增效工作部署的重要举措。
立足于贯彻落实省委、省政府重大产业战略,赋能市县产业引育,培育壮大未来产业三大功能定位,省产投公司将聚焦关键核心技术攻关、颠覆性创新孵化和战略性新兴产业集群打造,充分发挥省级产业投资平台赋能全省产业引育作用,长周期、可持续、有耐心地支持符合我省主导产业发展方向、带动力强、预期效益好、长期价值高的项目,为我省打造“三地一区”建设积极贡献力量。
官网信息显示,安徽省投资集团成立于1998年6月(由原省建设投资公司、省农业投资公司和省铁路建设投资公司合并组建而成),注册资本600亿元。2011年6月和2014年10月,先后与上海裕安投资集团有限公司、深圳安徽实业总公司重组,是省委省政府确定的我省首家国有资本投资运营公司改革试点企业,承担保障重要基础设施建设、引领产业升级、服务创新发展战略任务。截至2024年底,集团公司资产总额近3900亿元,旗下拥有89家全资及控股子公司,包括1家上市公司,主要分布在安徽、上海、深圳、香港等地,拥有5家AAA信用评级主体。

来源:凤凰网安徽综合