


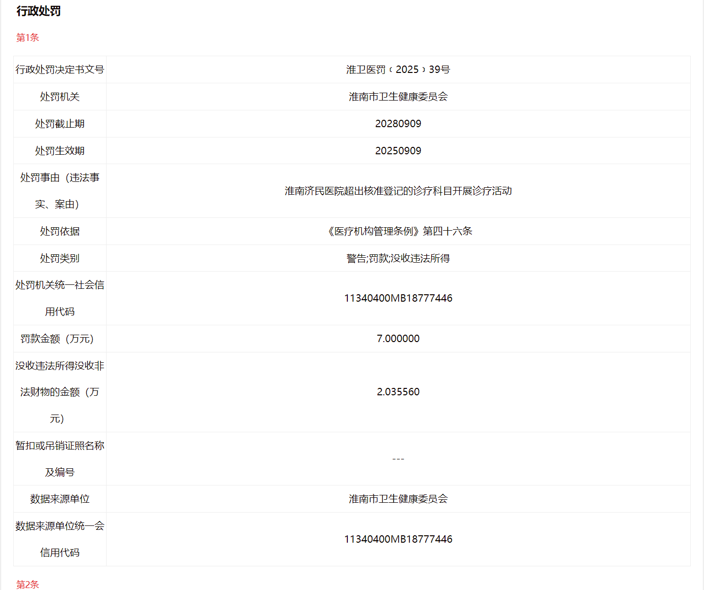
近日,淮南市卫健委披露行政处罚信息,因为违反《医疗机构管理条例》,淮南济民医院被警告、罚款7万元,行政处罚决定书文号为淮卫医罚﹝2025﹞39号。值得一提的是,今年以来该医院因违法违规行为多次被罚。
公开处罚信息显示,淮南济民医院超出核准登记的诊疗科目开展诊疗活动。依据《医疗机构管理条例》第四十六条,淮南市卫健委决定对该医院处罚款7万元,并没收违法所得2.04万元。


2025年6月,淮南济民医院因使用外科医师赵守国开展康复医学诊疗活动,被罚款2万元,行政处罚决定书文号为淮卫医罚﹝2025﹞24号;
2025年3月,因重复收费、串换诊疗项目、过度检查使用医保基金,淮南济民医院被罚款57.35万元,没收违法所得26.37万元,行政处罚决定书文号为淮医保行政处罚﹝2025﹞1号;
2025年1月,因未落实危急值报告制度,淮南济民医院被罚款1万元。

官网信息显示,淮南济民医院,坐落于淮南市田家庵区淮舜南路212号,系民营非营利性二级甲等综合医院。官网简介中称,自成立以来,淮南济民医院始终秉持“以患者为中心,以质量为核心”的服务理念。

来源:凤凰网安徽综合