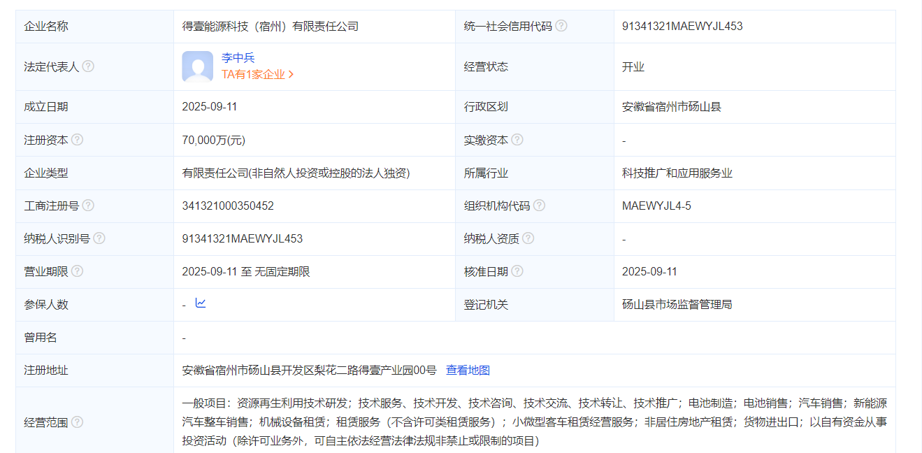
爱企查信息显示,近日,得壹能源科技(宿州)有限责任公司成立,法定代表人为李中兵,注册资本7亿人民币,经营范围含电池制造、电池销售、汽车销售、新能源汽车整车销售、机械设备租赁、租赁服务、小微型客车租赁经营服务、非居住房地产租赁、货物进出口、以自有资金从事投资活动等。股东信息显示,该公司由奇瑞汽车旗下安徽得壹能源科技有限公司全资持股。
来源:爱企查
凰家体验官探游兰州新区
集采“反内卷” 我们能对药品更放心吗?
不只是“多了两个假” 中国多地推行中小学春秋假
中国多地滑雪场提前“开板” 周边酒店订单走俏
科创合肥:澎湃创新动能
31省份工业盈亏图鉴 谁赚到钱了?
“鸡排哥”全国“巡炸”南昌站 有游客排队三小时
“300元以下难购真羽绒服”?
武汉一高校发起捐赠1000元冠名座椅活动
山东海阳核电3号机组核岛大型模块吊装完成
中国车企扎堆海外建厂
居延遗址新发现青铜时代遗存
河南开封:大宋“百戏”引游人