


近日,信用芜湖披露行政处罚信息,2家公司因涉税务违法被罚款119.96万元,行政处罚决定书文号分别为芜税稽罚﹝2025﹞42号、芜税稽罚﹝2025﹞44号。
公开处罚信息显示,芜湖精工建设有限公司偷税被罚款55.124367万元,芜湖义城建设工程有限责任公司违规取得虚开的增值税专用发票,申报抵扣进项税额少缴税款偷税被罚款64.834808万元。


天眼查信息显示,芜湖精工建设有限公司 (曾用名:芜湖精工建筑安装有限公司) ,成立于2001年,位于安徽省芜湖市,是一家以从事房屋建筑业为主的企业。
风险信息显示,该公司存在失信被执行人、被执行人信息,涉案总金额分别为460.3079万元、352.8961万元。


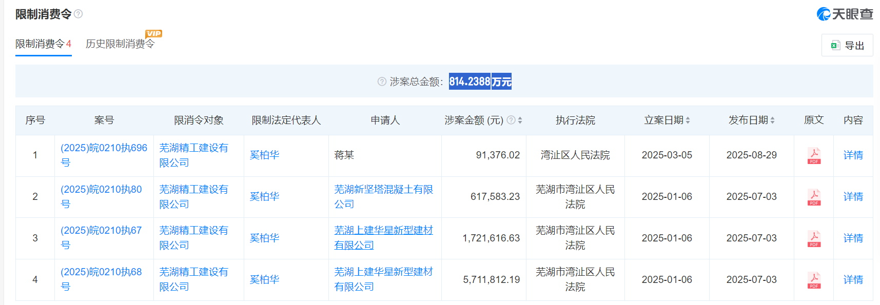
此外,该公司及法定代表人还存在多条限制消费令信息,涉案总金额814.2388万元。

芜湖义城建设工程有限责任公司,成立于2011年,义城建设集团成员,位于安徽省芜湖市,是一家以从事土木工程建筑业为主的企业。该公司由义城建设集团有限公司全资控股。
据天眼查风险信息,该公司存在一条失信被执行人信息,涉案总金额6.28万元。今年4月,该公司被芜湖市鸠江区人民法院列为被执行人,被执行总金额41万元,案号为(2025)皖0207执1316号。

来源:凤凰网安徽综合