


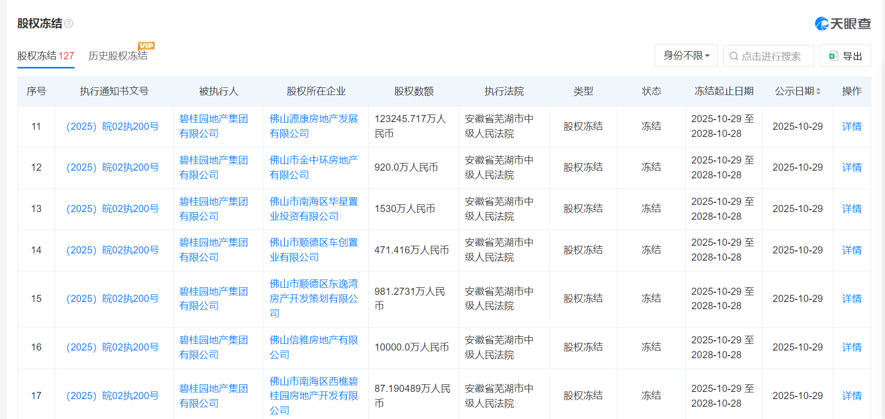
近日,据天眼查信息显示,碧桂园地产集团有限公司新增16条股权冻结信息,冻结股权数额270380.521589万元。执行法院为安徽省芜湖市中级人民法院,股权冻结公示日期为2025年10月29日、10月30日,冻结期限为三年。
股权所在企业分别为:佛山市顺德区肇恒碧桂园房地产置业有限公司、佛山市顺德区碧海锦诚置业有限公司、广东碧桂园优业企业管理有限公司、佛山市顺德区碧达航商业有限公司、佛山市顺德区均安碧桂园置业有限公司、佛山市顺德区碧盈管理咨询有限公司、佛山市润穗房地产开发有限公司、佛山市顺德区碧桂园房产置业有限公司、佛山市顺德区乐从碧桂园房地产开发有限公司、佛山源康房地产发展有限公司、佛山市金中环房地产有限公司、佛山市南海区华星置业投资有限公司、佛山市顺德区车创置业有限公司、佛山市顺德区东逸湾房产开发策划有限公司、佛山信雅房地产有限公司、佛山市南海区西樵碧桂园房地产开发有限公司。


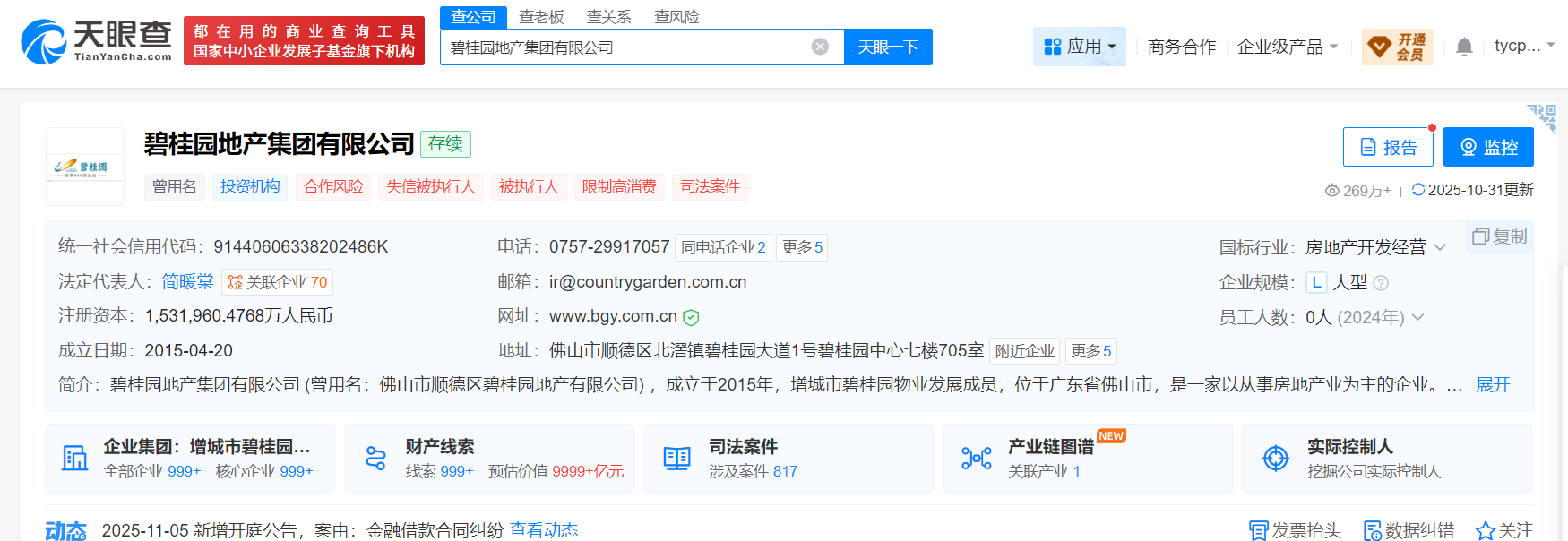
碧桂园地产集团有限公司 (曾用名:佛山市顺德区碧桂园地产有限公司) ,成立于2015年,位于广东省佛山市,是一家以从事房地产业为主的企业。该公司控股股东为佛山市顺德区宙华投资咨询有限公司,持股比列为91%。


来源:天眼查