


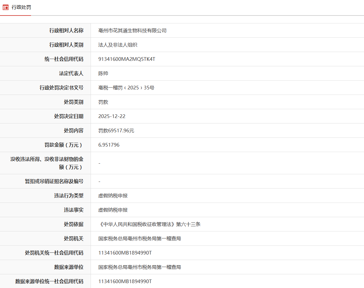
近日,据“信用安徽”公开披露行政处罚信息,因亳州市花其道生物科技有限公司虚假纳税申报,依据《中华人民共和国税收征收管理法》第六十三条,国家税务总局亳州市税务局第一稽查局对其处以罚款6.951796万元。行政处罚决定书文号是亳税一稽罚﹝2025﹞35号。

天眼查信息显示,亳州市花其道生物科技有限公司 (曾用名:亳州市花其道花茶有限公司) ,成立于2015年,位于安徽省亳州市,是一家以从事食品制造业为主的企业。

风险方面发现企业有裁判文书3条,涉诉关系7条,开庭公告4条。目前该公司已被限制高消费。
2025年7月,因亳州市花其道生物科技有限公司未依照《企业信息公示暂行条例》第八条规定的期限公示年度报告,亳州市市场监督管理局将其列入经营异常名录。
来源:信用安徽、天眼查