


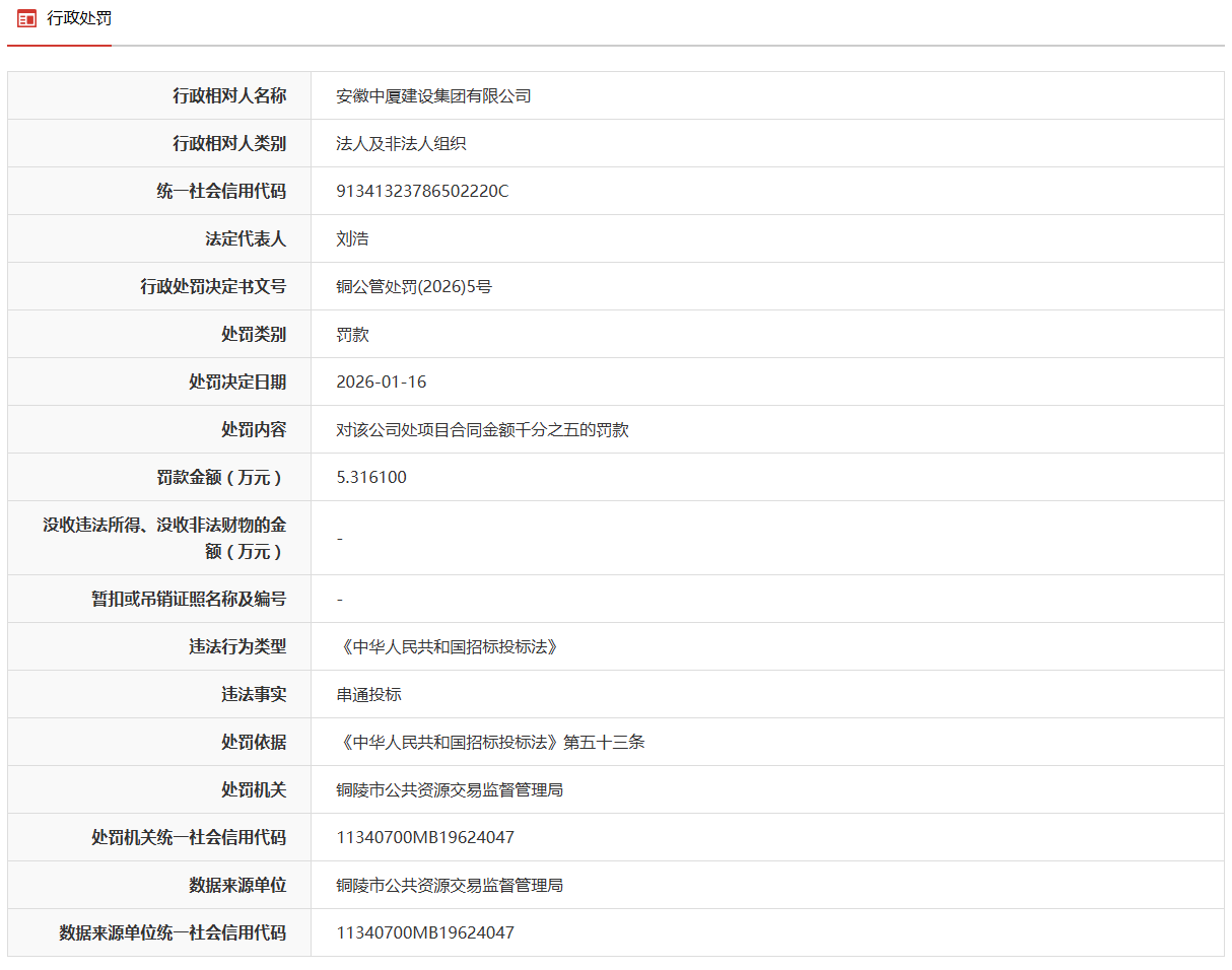
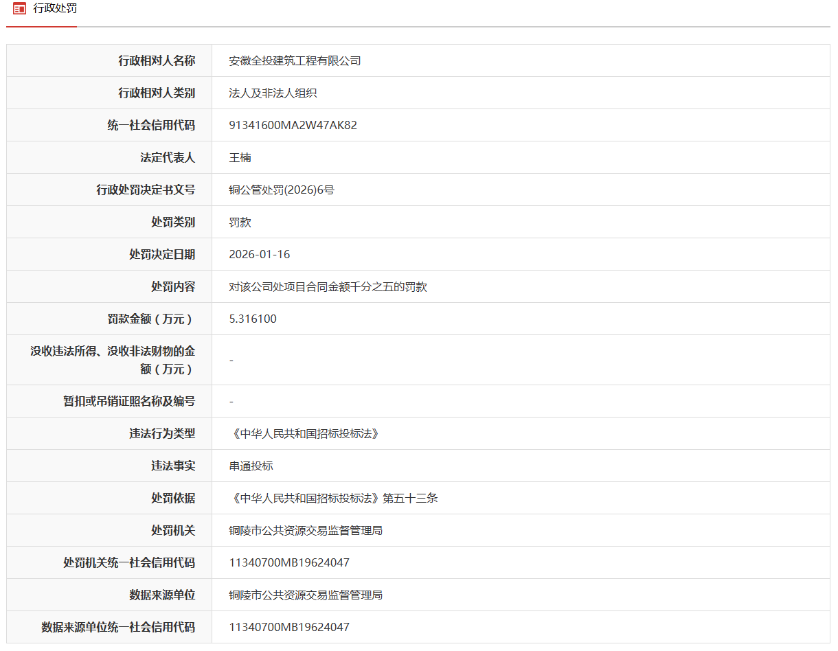
1月16日,据“信用安徽”公开披露行政处罚信息,因串通投标,安徽中厦建设集团有限公司和安徽全投建筑工程有限公司均被罚5.3161万元。行政处罚决定书文号分别是铜公管处罚(2026)5号和铜公管处罚(2026)6号。
1

公开处罚信息显示,安徽中厦建设集团有限公司的违法事实是串通投标,违反了《中华人民共和国招标投标法》,依据《中华人民共和国招标投标法》第五十三条,铜陵市公共资源交易监督管理局对该公司作出罚款5.3161万元的行政处罚。
天眼查信息显示,安徽中厦建设集团有限公司 (曾用名:宿州市梨园建筑工程有限责任公司) ,成立于2006年,位于安徽省宿州市,是一家以从事房屋建筑业为主的企业。风险方面发现企业有裁判文书17条,涉诉关系130条,开庭公告14条,立案信息5条,该公司目前已成失信被执行人。
2

公开处罚信息显示,安徽全投建筑工程有限公司的违法事实是串通投标,违反了《中华人民共和国招标投标法》,依据《中华人民共和国招标投标法》第五十三条,铜陵市公共资源交易监督管理局对该公司作出罚款5.3161万元的行政处罚。
天眼查信息显示,安徽全投建筑工程有限公司,成立于2020年,位于安徽省亳州市,是一家以从事建筑装饰、装修和其他建筑业为主的企业。风险方面发现企业有涉诉关系1条,开庭公告1条。
来源:信用安徽、天眼查