



近日,据“信用安徽”公开披露行政处罚信息,因偷税,安徽省清兰商贸有限责任公司被处以罚款12.179647万元。行政处罚决定书文号是芜税一稽罚﹝2026﹞4号。

公开处罚信息显示,安徽省清兰商贸有限责任公司的行为属于逃避缴纳税款,依据《中华人民共和国税收征收管理法》第六十三条第一款、《中华人民共和国行政处罚法》第三十二条第(一)项之规定,国家税务总局芜湖市税务局第一稽查局作出上述行政处罚决定。

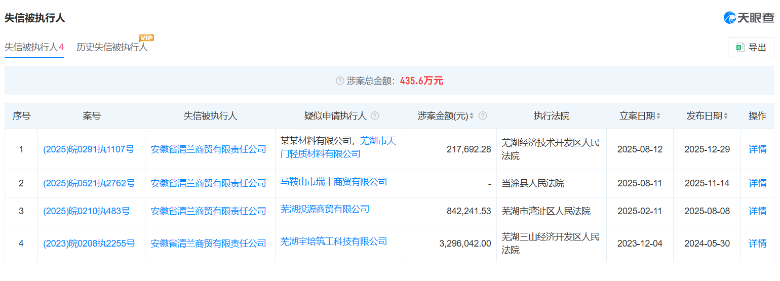
天眼查信息显示,安徽省清兰商贸有限责任公司,成立于2020年,位于安徽省芜湖市,是一家以从事批发业为主的企业。风险方面发现企业有裁判文书5条,涉案总金额714.549743万元;涉诉关系8条,开庭公告18条。此前该公司已是失信被执行人。
来源:信用安徽、天眼查