



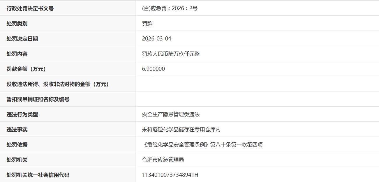
近日,据“信用安徽”公开披露行政处罚信息,因未将危险化学品储存在专用仓库内,安徽省庆云医药股份有限公司被处以罚款6.9万元。行政处罚决定书文号是(合)应急罚﹝2026﹞2号。

公开处罚信息显示,安徽省庆云医药股份有限公司未将危险化学品储存在专用仓库内属于安全生产隐患管理类违法,依据《危险化学品安全管理条例》第八十条第一款第四项,合肥市应急管理局作出上述处罚决定。

官网信息显示,安徽省庆云医药股份有限公司成立于2003年,是一家专业从事医药原料药和中间体、精细化学品研究、开发、生产和贸易的综合性民营高新技术企业。公司于2003年8月经安徽省工商局批准成立,位于合肥市双凤开发区金川路25号。公司的主营产品有:瑞舒伐他汀钙、匹伐他汀钙、西洛多辛、雷诺嗪等医药中间体。公司在手性药物的合成上具有突出优势,成立了合肥市化学合成药物工程技术研究中心。
来源:信用安徽、企业官网