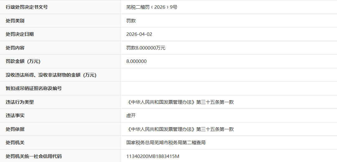
近日,据“信用安徽”公开披露行政处罚信息,因虚开发票,芜湖创顺商贸有限公司被处以罚款8万元。行政处罚决定书文号是芜税二稽罚﹝2026﹞9号。
对此,依据《中华人民共和国发票管理办法》第三十五条第一款,国家税务总局芜湖市税务局第二稽查局作出上述处罚决定。
天眼查信息显示,芜湖创顺商贸有限公司,成立于2021年,位于安徽省芜湖市,是一家以从事批发业为主的企业,经营范围包含建筑材料销售;电线、电缆经营;五金产品批发;建筑装饰材料销售;轻质建筑材料销售;特种劳动防护用品销售等。
来源:信用安徽、天眼查
凰家体验官探游兰州新区
集采“反内卷” 我们能对药品更放心吗?
不只是“多了两个假” 中国多地推行中小学春秋假
中国多地滑雪场提前“开板” 周边酒店订单走俏
科创合肥:澎湃创新动能
31省份工业盈亏图鉴 谁赚到钱了?
“鸡排哥”全国“巡炸”南昌站 有游客排队三小时
“300元以下难购真羽绒服”?
武汉一高校发起捐赠1000元冠名座椅活动
山东海阳核电3号机组核岛大型模块吊装完成
中国车企扎堆海外建厂
居延遗址新发现青铜时代遗存
河南开封:大宋“百戏”引游人