


01

据安徽纪检监察网4月15日消息,黄山市屯溪区新潭镇党委委员、人大主席柯小勇涉嫌严重违纪违法,主动投案,目前正接受黄山市屯溪区纪委监委纪律审查和监察调查。(黄山市屯溪区纪委监委)
02

据安徽纪检监察网4月15日消息,泗县农业农村局三级调研员韩光锋涉嫌严重违纪违法,主动投案,目前正接受泗县纪委监委纪律审查和监察调查。(泗县纪委监委)
03

据安徽纪检监察网4月14日消息,日前,国能神皖能源有限责任公司纪委、泗县监委对安徽省售电开发投资有限公司原副总经理吕营严重违纪违法问题进行了立案审查调查。
经查,吕营丧失理想信念,背弃初心使命,无视中央八项规定精神,违规收受礼品、礼金,违规接受宴请;不正确履行职责;利用职务便利为他人在工程项目承揽等方面谋取利益,非法收受巨额财物。
吕营严重违反党的廉洁纪律、工作纪律,构成严重职务违法并涉嫌受贿犯罪,且在党的十八大后不收敛、不收手,性质严重,影响恶劣,应予严肃处理。依据《中国共产党纪律处分条例》《中华人民共和国监察法》《中华人民共和国公职人员政务处分法》等有关规定,经国能蚌埠发电有限公司党委研究,决定给予吕营开除党籍、开除公职处分;收缴其违纪违法所得。由泗县监委将其涉嫌犯罪问题移送检察机关依法审查起诉,所涉财物一并移送。(国能神皖能源有限责任公司纪委、泗县纪委监委)

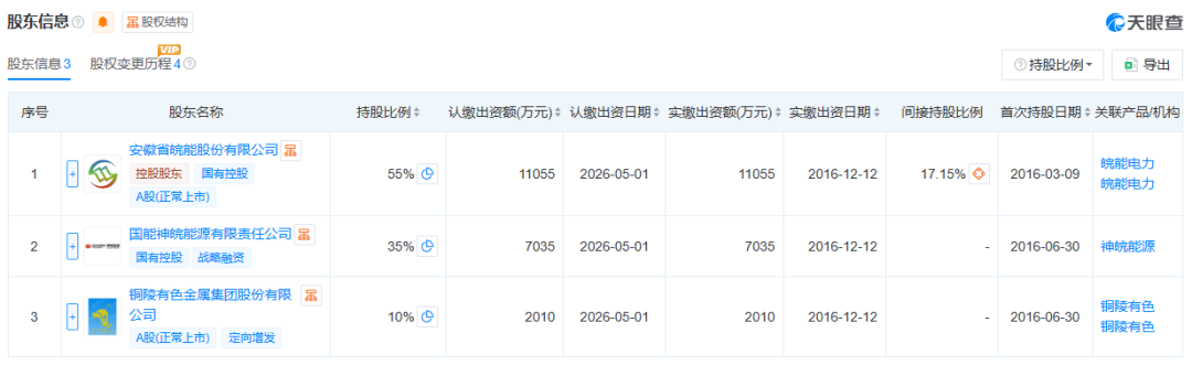
天眼查信息显示,安徽省售电开发投资有限公司,成立于2016年,安徽省能源集团成员,位于安徽省合肥市,是一家以从事商务服务业为主的企业。是由安徽省皖能股份有限公司(55%)、神皖能源有限责任公司(35%)、铜陵有色金属集团股份有限公司(10%)共同出资成立的国有企业。
来源:安徽纪检监察网