


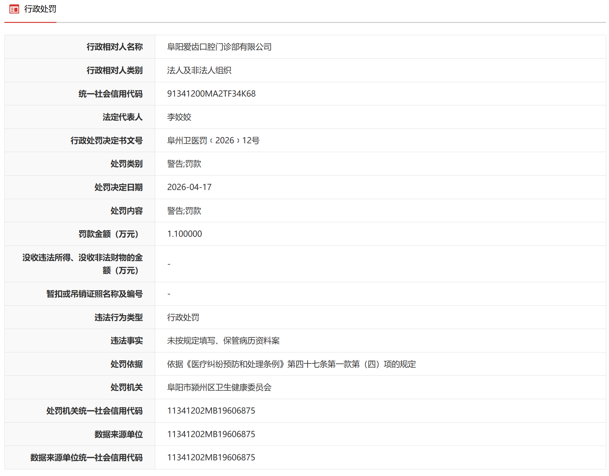
近日,据“信用安徽”公开披露行政处罚信息,因未按规定填写、保管病历资料案,阜阳爱齿口腔门诊部有限公司被警告并被处以罚款1.1万元。行政处罚决定书文号是阜州卫医罚﹝2026﹞12号。

依据《医疗纠纷预防和处理条例》第四十七条第一款第(四)项的规定,阜阳市颍州区卫生健康委员会作出处罚决定:警告;罚款1.1万元。
天眼查信息显示,阜阳爱齿口腔门诊部有限公司,成立于2019年,安徽爱齿口腔成员,位于安徽省阜阳市,是一家以从事其他服务业为主的企业。风险方面共发现企业有天眼风险信息22条;涉诉关系2条。
来源:信用安徽,天眼查